⚠️ This forum has been restored as a read-only archive so the knowledge shared by the community over many years remains available. New registrations and posting are disabled.

All times are UTC + 8 hours




Post new topic Reply to topic  [ 183 posts ]  Go to page Previous  1, 2, 3, 4, 5, 6, 7, 8 ... 13  Next
Author Message
 Post subject: Re: diy radial filter
PostPosted: Jun 19th, '13, 19:11 
Almost divorced
Almost divorced
User avatar

Joined: Aug 25th, '06, 14:54
Posts: 1278
Location: Adelaide
Gender: Male
brett&vicky wrote:
i just has a thought about skeggley's filter and the problem of removing solids
is it possible to make a funnel shaped bottom out of sand and cement and then cover that with bitumen rubber
most of the solids will move to the middle
just an idea :dontknow:
if this is wrong someone will say so
cheers b&v


I did this last year in a large blue barrel. Started with a bit of expander foam. covered this with a render mixed with perlite, and a smooth render finish. then painted the whole lot with bitumen paint. Probably not the best design filter, but the cone part works well.


Top
 Profile  
Reply with quote  
    Advertisement
 
 Post subject: Re: diy radial filter
PostPosted: Jun 19th, '13, 20:10 
Moderator
Moderator
User avatar

Joined: May 6th, '11, 12:06
Posts: 12206
Gender: Male
Location: Northern NSW
Eddy did a home made conical bottom in one of his filter drums with cement. Did a nice job of it too. I wonder where he's gone?


viewtopic.php?p=341672#p341672


Top
 Profile  
Reply with quote  
 Post subject: Re: diy radial filter
PostPosted: Jun 19th, '13, 21:34 
Almost divorced
Almost divorced
User avatar

Joined: Feb 12th, '12, 15:44
Posts: 1225
Gender: Male
Are you human?: Resistence is futile
Location: Melton, Victoria
Charlie wrote:
How have you plumbed the pipe through the IBC, Iceman? Slaz?


25mm bulk head fitting on mine... can't remember for dad's, i think we ditched the bulkhead fitting and rigged up something cheaper that gave us grief (i suggested we do it properly in the first place ;) )

then it just goes to a SLO... pretty simple really, just like all the other SLO setups just a 25mm instead of the 40mm


Top
 Profile  
Reply with quote  
 Post subject: Re: diy radial filter
PostPosted: Jun 19th, '13, 22:18 
Moderator
Moderator
User avatar

Joined: Nov 6th, '11, 10:04
Posts: 5100
Gender: Male
Are you human?: Humans err, I Arrr!
Location: Chula Vista, CA, USA
IceManDude wrote:
here is one i have made for my parents, in the photo it is a swirl filter but when it is installed it will be modified to be a RFF just like mine

Image

That is not how I pictured you at all IceManDude!


Top
 Profile  
Reply with quote  
 Post subject: Re: diy radial filter
PostPosted: Jun 19th, '13, 22:40 
Valued Contributor
Valued Contributor
User avatar

Joined: Jun 13th, '13, 07:12
Posts: 52
Location: Hartford Wisconsin USA
Gender: Male
Are you human?: YES
Location: Hartford Wisconsin USA
A WATER JUG!!!! Why the heck didn't I think of that!? Well done Iceman...well done!

AP on my friends!
-Ryan


Top
 Profile  
Reply with quote  
 Post subject: Re: diy radial filter
PostPosted: Jun 20th, '13, 06:01 
A posting God
A posting God
User avatar

Joined: Nov 7th, '12, 19:48
Posts: 2361
Gender: Male
Are you human?: YES
Location: Warragul
Do you have to paint it to stop algae?
I would have loved to use your idea iceman but i have 90mm outlets.


Top
 Profile  
Reply with quote  
 Post subject: Re: diy radial filter
PostPosted: Jun 21st, '13, 08:30 
Moderator
Moderator
User avatar

Joined: May 6th, '11, 12:06
Posts: 12206
Gender: Male
Location: Northern NSW
Thought Id add some pics of mine in spirit of the thread.





Attachment:
DSC02413.JPG
DSC02413.JPG [ 106.18 KiB | Viewed 6352 times ]

Attachment:
DSC02414.JPG
DSC02414.JPG [ 111.64 KiB | Viewed 6352 times ]

Attachment:
DSC02415.JPG
DSC02415.JPG [ 102.06 KiB | Viewed 6352 times ]


Top
 Profile  
Reply with quote  
 Post subject: Re: diy radial filter
PostPosted: Jun 21st, '13, 08:54 
Valued Contributor
Valued Contributor
User avatar

Joined: Jun 13th, '13, 07:12
Posts: 52
Location: Hartford Wisconsin USA
Gender: Male
Are you human?: YES
Location: Hartford Wisconsin USA
I was thinking of doing a similar mount for the sleeve, but didn't know how to go about putting a cover on it then. Do you have any ideas on the best way to work around the aluminum bars and the sleeve protruding through the top?

AP on my friends!
-Ryan


Top
 Profile  
Reply with quote  
 Post subject: Re: diy radial filter
PostPosted: Jun 21st, '13, 09:02 
Moderator
Moderator
User avatar

Joined: May 6th, '11, 12:06
Posts: 12206
Gender: Male
Location: Northern NSW
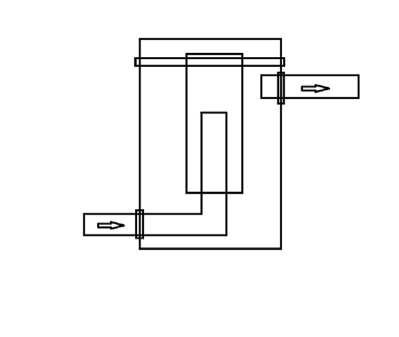
I dont put a lid on mine but you can do something like this..



Attachment:
RFF.png
RFF.png [ 21.59 KiB | Viewed 6295 times ]


Top
 Profile  
Reply with quote  
 Post subject: Re: diy radial filter
PostPosted: Jun 21st, '13, 09:11 
In need of a life
In need of a life
User avatar

Joined: Aug 21st, '12, 15:28
Posts: 1601
Location: At my desk
Gender: Male
Are you human?: YES
Location: Coolbellup
do you have a tap for draining off the gunk Charlie? Can't see from the pics. If not, how do you get the gunk out?


Top
 Profile  
Reply with quote  
 Post subject: Re: diy radial filter
PostPosted: Jun 21st, '13, 09:21 
Moderator
Moderator
User avatar

Joined: May 6th, '11, 12:06
Posts: 12206
Gender: Male
Location: Northern NSW
I dont (good eyes) and the reason I didnt is because I found the 25mm uniseals didnt seal very well on these bins because the wall thickness is so thin (maybe 2mm) so I didnt want to risk the integrity of the bin any further. Ive considered draining them and using bulkhead fittings but I havnt got around to it yet. These bins are very flimsy and I wouldnt use them again. The bottoms are bowing and I have a small weep around the 25mm uniseal I used for the supply pipe.

For the moment I use a length of garden hose to syphon out the gunk into a watering can which then goes in the dirt garden. Doesnt take long so its not too bad. It would be nicer to be able to just open a tap though because the water is freezing at the moment :)


Top
 Profile  
Reply with quote  
 Post subject: Re: diy radial filter
PostPosted: Jun 21st, '13, 09:23 
Valued Contributor
Valued Contributor
User avatar

Joined: Jun 13th, '13, 07:12
Posts: 52
Location: Hartford Wisconsin USA
Gender: Male
Are you human?: YES
Location: Hartford Wisconsin USA
Charlie wrote:
I dont put a lid on mine but you can do something like this..


Thats what I have right now, but I'm thinking for future reference when I make a larger RFF if its better to do it your way.

Thanks for the info!
-Ryan


Top
 Profile  
Reply with quote  
 Post subject: Re: diy radial filter
PostPosted: Jun 21st, '13, 09:32 
Moderator
Moderator
User avatar

Joined: May 6th, '11, 12:06
Posts: 12206
Gender: Male
Location: Northern NSW
Aah yes, just checked out the pics of yours lol

I dont think there is any right or wrong really. Whether you have a lid or not doesnt effect the operation of the filter. The way I designed mine was really just to get away from drilling more holes in the bin. I think your design is neater.

:thumbleft:


Top
 Profile  
Reply with quote  
 Post subject: Re: diy radial filter
PostPosted: Jun 21st, '13, 09:43 
Newbie
Newbie

Joined: Feb 6th, '11, 23:30
Posts: 43
Gender: Male
Are you human?: AquaBiotic Lifeform
Location: New Orleans, La USA
Here is one I made from a RubberMaid container.
It works well.

I've added a very fine mesh filter at the 4" pipe exit.
It filters so well, it has to be washed out daily to remove the fine stuff that still floats in the water.

In the bottom I added concrete and painted it with latex paint after it had cured.
In the bottom, I added a plastic cup with a 1" pvc pipe in the side that allows the collected sludge to be drawn off with an external valve.




Top
 Profile  
Reply with quote  
 Post subject: Re: diy radial filter
PostPosted: Jun 21st, '13, 11:35 
Valued Contributor
Valued Contributor
User avatar

Joined: Jun 13th, '13, 07:12
Posts: 52
Location: Hartford Wisconsin USA
Gender: Male
Are you human?: YES
Location: Hartford Wisconsin USA
Now there's an interesting idea. I wonder if you could get a longer tub and add more filter buckets in as you add FTs.
Do you think if you were to only do 1 inlet from your FT lower on the 1 side, add a longer vertical stack inside the filter, and raise your outlet height that you would be able to knock the larger particles out of suspension easier and not have to clean that screen daily? Also lowering the RFF in relation to the FT may help as well. That way you would be able to "disturb" the surface of the water at the inlet due to the greater force at 1 point knocking the solids out of suspension and at the same time increasing the overall distance a solid would have to travel to get out of the tank if it got loose. Does that make any sense or am I fabricating my own hopes and dreams?

AP on my friends!
-Ryan


Top
 Profile  
Reply with quote  
Display posts from previous:  Sort by  
Post new topic Reply to topic  [ 183 posts ]  Go to page Previous  1, 2, 3, 4, 5, 6, 7, 8 ... 13  Next

All times are UTC + 8 hours


You cannot post new topics in this forum
You cannot reply to topics in this forum
You cannot edit your posts in this forum
You cannot delete your posts in this forum
You cannot post attachments in this forum

Search for:
Jump to:  
cron

Powered by phpBB® Forum Software © phpBB Group
Portal by phpBB3 Portal © phpBB Türkiye
[ Time : 0.051s | 15 Queries | GZIP : Off ]