⚠️ This forum has been restored as a read-only archive so the knowledge shared by the community over many years remains available. New registrations and posting are disabled.

All times are UTC + 8 hours




Post new topic Reply to topic  [ 159 posts ]  Go to page Previous  1, 2, 3, 4, 5, 6, 7 ... 11  Next
Author Message
 Post subject:
PostPosted: Dec 22nd, '06, 10:27 
Bordering on Legend
Bordering on Legend
User avatar

Joined: Dec 21st, '06, 15:57
Posts: 486
Location: melbourne
Gender: Male
As a followup, I rang up the guy in question (John Simmons) and he would be most pleased if people tried it. The exact approach is to get a silicone caulking nozzle and a T, and put the silicone nozzle pointing along the T with the incoming water doing a 90 degree turn. He has an innovation patent which he will email me in the new year, and he wants people to try it and to improve things. If anyone wants more details he said he's happy for people to ring him (I'll email his phone no if anyone wants to talk).

He calls it the Simmo Venturi (but I'm pretty sure he's not the same Simmo :). He plans to sell a complete system including backflow valve and pressure activated autoswitch for farm use sometime.


Top
 Profile  
Reply with quote  
    Advertisement
 
 Post subject:
PostPosted: Dec 22nd, '06, 10:39 
A posting God
A posting God
User avatar

Joined: Nov 3rd, '06, 01:30
Posts: 3131
Location: Cochranville, Pennsylvania USA
Gender: Female
Are you human?: yes
Location: Pennsylvania, USA
njh,
Geyser pumps were originally designed to pump sewage/sludge. They are attractive to 'Ell because he wants to pump fish poo off the bottom of his tank. They are attractive to me because I can move water and aerate water with one device that won't break down or clog up with poo or bits of debris.

Also, given this particular group of people, geyser pumps are attractive because they're there. Some of us just like to tinker.

Please do put up a diagram of your friend's device. Chances are good that someone here (probably 'Ell) will build one. After all, he's the one who puts car lock actuators in his system!!


Top
 Profile  
Reply with quote  
 Post subject:
PostPosted: Dec 22nd, '06, 10:44 
Bordering on Legend
Bordering on Legend
User avatar

Joined: Dec 21st, '06, 15:57
Posts: 486
Location: melbourne
Gender: Male
janet: shall do!

(I understand the 'because it's there' attitude, that's why I joined this forum! :)


Top
 Profile  
Reply with quote  
 Post subject:
PostPosted: Dec 22nd, '06, 16:55 
Seriously, this cant be healthy.
Seriously, this cant be healthy.
User avatar

Joined: Aug 21st, '06, 16:07
Posts: 5323
Location: Brisbane
Gender: Male
njh, love the input,
my understanding is that the "tap water" is external to the system and is then mixed with the system water (via the "T" in venturi style) and then all is returned to the tank - or none is returned to the tank, correct?


Top
 Profile  
Reply with quote  
 Post subject:
PostPosted: Dec 22nd, '06, 17:39 
Bordering on Legend
Bordering on Legend
User avatar

Joined: Dec 21st, '06, 15:57
Posts: 486
Location: melbourne
Gender: Male
Yeah, the thought was that you will need to add a small amount of water, so if the venturi provides enough force for the addition rate the whole system might be powered using just a ball valve controlled venturi,


Top
 Profile  
Reply with quote  
 Post subject:
PostPosted: Dec 22nd, '06, 18:03 
Seriously, this cant be healthy.
Seriously, this cant be healthy.
User avatar

Joined: Aug 21st, '06, 16:07
Posts: 5323
Location: Brisbane
Gender: Male
Fair enough, what I am trying to do is clean the bottom of the tank using "the pump" - simply suck up the gunk off the bottom, put it through a sieve/filter (fish net) and let the water return to the tank (10 minutes work/month tops), others just want to aerate/lift a volume of water and there are probably more applications that haven't been thought of yet.

My main concern is adding tap water (chlorinated) straight into the tank - or removing some of my lovely nuted water although Monya uses something similar (device connected to tap etc....) - oh well, needs more thought me thinks :lol:


Top
 Profile  
Reply with quote  
 Post subject:
PostPosted: Dec 22nd, '06, 18:10 
Moderator
Moderator
User avatar

Joined: May 25th, '06, 07:52
Posts: 6857
Location: adelaide hills
Gender: Male
Are you human?: yes
Location: Adelaide Hills
I add my water thru the venturi vacuumer thingy as it sucks the poo I put the outflow into the growbeds. Keep the poo in the system. I have given up worrying about chlorine. The fish haven't protested so far, and as my tap water is 7.2 and my rainwater is 6.8, my top ups come from the rain tank, and the tap is used for the vacuuming.


Top
 Profile  
Reply with quote  
 Post subject:
PostPosted: Dec 22nd, '06, 18:57 
Seriously, this cant be healthy.
Seriously, this cant be healthy.
User avatar

Joined: Aug 21st, '06, 16:07
Posts: 5323
Location: Brisbane
Gender: Male
humph! suppose you don't wash your gravel now either :tongue2:

Standards are slipping


Top
 Profile  
Reply with quote  
 Post subject:
PostPosted: Dec 22nd, '06, 19:26 
Bordering on Legend
Bordering on Legend
User avatar

Joined: Dec 21st, '06, 15:57
Posts: 486
Location: melbourne
Gender: Male
Oh, I top my tank up with tap water all the time :)


Top
 Profile  
Reply with quote  
 Post subject:
PostPosted: Dec 22nd, '06, 19:36 
Spam Assassin (Be afraid!)
Spam Assassin     (Be afraid!)
User avatar

Joined: Aug 24th, '06, 11:50
Posts: 10202
Location: Townsville
Gender: Female
Location: home
7500L today went straight into the tank


Top
 Profile  
Reply with quote  
 Post subject:
PostPosted: Dec 22nd, '06, 19:53 
Seriously, this cant be healthy.
Seriously, this cant be healthy.
User avatar

Joined: Aug 21st, '06, 16:07
Posts: 5323
Location: Brisbane
Gender: Male
Getting this "geyser" a little more sussed out, it is an advantage to have the air entering the chamber from beneath rather than injected into the top as per the link supplied earlier.

With air being injected from the top, the air pump has to be able to overcome the pressure build-up in the chamber and add more air – if air enters from underneath, this pressure build-up on the pump is eliminated.

There - that should get this topic back on track for at least one post :thumbup:


Top
 Profile  
Reply with quote  
 Post subject:
PostPosted: Dec 22nd, '06, 20:04 
not sure where a "post" fits in here EKB .... can you draw a diagram lol


Top
  
Reply with quote  
 Post subject:
PostPosted: Dec 22nd, '06, 20:57 
A posting God
A posting God
User avatar

Joined: Nov 3rd, '06, 01:30
Posts: 3131
Location: Cochranville, Pennsylvania USA
Gender: Female
Are you human?: yes
Location: Pennsylvania, USA
That makes sense, 'Ell. Can't wait to get my air pump.


Top
 Profile  
Reply with quote  
 Post subject:
PostPosted: Dec 22nd, '06, 22:42 
Almost divorced
Almost divorced
User avatar

Joined: Apr 21st, '06, 19:14
Posts: 1083
Location: Perth suburbs
Gender: Male
Are you human?: yes
Location: WA Aus
Man ... I can't wait to see a sketch of this + more photos ... + a video ... + a personal demo at my home .. (Beer and barbie will be included!)

I am still trying to figure out how this thing works! Is that a valve at the bottom?


Top
 Profile  
Reply with quote  
 Post subject: Re: Airlift/Geyser pumps
PostPosted: Dec 22nd, '06, 23:13 
A posting God
A posting God
User avatar

Joined: Nov 3rd, '06, 01:30
Posts: 3131
Location: Cochranville, Pennsylvania USA
Gender: Female
Are you human?: yes
Location: Pennsylvania, USA
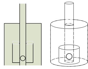
Here's a Pic and a narrative.

There are no moving parts, no valves, nothing. The shaping of the pump is what does the work. Immerse the pump. Deeper is better. Place an airstone below it. Air is captured under the outer bell. It displaces the water slowly, but that isn't the pumping part of this. When the air gets low enough to reach the hole in the side of the central riser, it is explosively released from the bell into the riser. This propels all of the riser tube water upward above the big bubble. So this thing makes spurts of water and air.


Attachments:
geyser pump diagrams.jpg
geyser pump diagrams.jpg [ 10.88 KiB | Viewed 5354 times ]
Top
 Profile  
Reply with quote  
Display posts from previous:  Sort by  
Post new topic Reply to topic  [ 159 posts ]  Go to page Previous  1, 2, 3, 4, 5, 6, 7 ... 11  Next

All times are UTC + 8 hours


You cannot post new topics in this forum
You cannot reply to topics in this forum
You cannot edit your posts in this forum
You cannot delete your posts in this forum
You cannot post attachments in this forum

Search for:
Jump to:  
cron

Powered by phpBB® Forum Software © phpBB Group
Portal by phpBB3 Portal © phpBB Türkiye
[ Time : 0.114s | 15 Queries | GZIP : Off ]